Horn Antenna in Hindi
Table of Contents
Horn Antenna in Hindi
हॉर्न एंटीना हिंदी में Horn Antenna in Hindi: जिस एंटीना का आकार हॉर्न (Horn) जैसा होता है उसे ‘हॉर्न एंटीना (Horn Antenna)‘ कहा जाता है। Horn Antenna का आकार ऐसा इसलिए होता है क्योंकि वेवगाइड के एक सिरे को किसी उचित एंगल या कोण पर खोल दिया जाता है। एक वेवगाइड (Waveguide) एक खोखली धात्विक ट्यूब (hollow metallic tube) होती है और इस धात्विक ट्यूब में EM तरंगें यात्रा करती हैं। जब वेवगाइड एक छोर पर उत्तेजित होता है और दूसरे छोर पर खुला होता है, तो यह विकिरण (radiates) करता है लेकिन वेवगाइड (waveguide) और मुक्त स्थान (free space) के बीच बेमेल होने के कारण यह विकिरण बहुत खराब और गैर-निर्देशक पैटर्न (non-directive pattern) का परिणाम होता है। इस विकिरण में सुधार के लिए वेवगाइड के मुंह को बाहर की ओर खोल दिया जाता है, जिससे विकिरण दक्षता (radiation efficiency) की तुलना में, निर्देश पैटर्न (directive pattern) और प्रत्यक्षता (directivity) में सुधार होगा।
Types of horns (हॉर्न ऐन्टेना के प्रकार)
- सेक्टोरल हॉर्न (Sectoral horn)
- पिरामिड हॉर्न (Pyramidal horn)
- शंक्वाकार हॉर्न (Conical horn)
सेक्टोरल हॉर्न दो प्रकार के होते हैं:
- सेक्टोरल एच-प्लेन हॉर्न (H-plane Sectoral horn)
- सेक्टोरल ई-प्लेन हॉर्न (E-plane Sectoral horn)
सेक्टोरल हॉर्न एक हॉर्न है जिसमें केवल एक ही दिशा में फ्लॉरिंग (flaring) होती है। यदि फ्लेयरिंग विद्युत क्षेत्र की दिशा में है, तो इसे सेक्टोरल ई-प्लेन हॉर्न (E-plane Sectoral horn) कहा जाता है। यदि फ्लेयरिंग चुंबकीय क्षेत्र की दिशा में है, तो इसे सेक्टोरल एच-प्लेन हॉर्न (H-plane Sectoral horn) कहा जाता है।


यदि फ्लेयरिंग ई और एच के साथ है, तो हॉर्न को पिरामिडल हॉर्न कहा जाता है। इसका आकर एक काटे गए पिरामिड के आकार जैसा होता है।

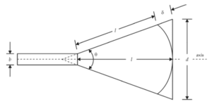
हॉर्न मापदंडों (parameters) का वर्णन किया गया है δ = path difference l = axial length d = aperture dimension θ = flare angle

Horn Antenna Operation
- एक वेवगाइड में विद्युत चुम्बकीय तरंग (electromagnetic wave) का Propagation मुक्त स्थान (Free Space) से भिन्न होता है क्योंकि वेवगाइड प्रतिबाधा (waveguide impedance) मुक्त स्थान प्रतिबाधा (free space impedance) से अलग होती है।
- वेवगाइड में, संवाहक दीवारों (conducting walls) द्वारा Propagation प्रतिबंधित होता है और तरंगें बार-बार परावर्तित होती है।
- जब तरंग वेवगाइड के मुहाने पर पहुँचती है, तो तरंगें पार्श्व रूप (spread laterally) से फैलती हैं और वेवफ्रंट (Wavefront) गोलाकार हो जाता है।
- वेव-गाइड के मुहाने पर, निकट-क्षेत्र क्षेत्र मौजूद होता है जहाँ वेव फ्रंट जटिल होता है।
- इसे संक्रमण क्षेत्र (transition region) माना जाता है जहां वेवगाइड से मुक्त स्थान में तरंग का Propagation होता है।
- चूंकि वेवगाइड प्रतिबाधा और मुक्त स्थान प्रतिबाधा मेल नहीं खाते हैं, इस कारण से वेवगाइड की दीवारें को एक निश्चित कोण पर मोड़ा जाता हैं। इस मुड़ी हुई संरचना को हॉर्न (Horn) कहा जाता है।
- waveguide का यही मुड़ा हुआ भाग प्रतिबाधा मिलान (Impedance Matching) का कार्य करता है।
- हॉर्न एक वेवगाइड की तुलना में एक बड़े एपर्चर के साथ एक समान प्लेन वेव फ्रंट का उत्पादन करता है। चूंकि एपर्चर बड़ा है, प्रत्यक्षता अधिक होती है।
Design Equations of Horn Antenna
हॉर्न एंटीना के डिजाइन समीकरण हैं:
\theta = 2\tan^{-1}\left ( \frac{d}{2l} \right )=2\cos^{-1}\left ( \frac{l}{l+\delta} \right ) और l = \frac{d^{2}}{8\delta }
ऑप्टिमम फ्लेयर्ड हॉर्न की हाफ-पावर बीम चौड़ाई (HPBW) हैं
\phi_{E}=\frac{56\lambda }{d_{E}} degreesand
\phi _{H}=\frac{67\lambda }{d_{H}} degreesयहाँ,
ϕE = E-plane का HPBW
ϕH = H-plane का HPBW
dE = E-plane का free space वेवलेंथ में अपर्चर
dH = H-plane का free space वेवलेंथ में अपर्चर
Features of Horns (हॉर्न ऐन्टेना की मुख्य विशेषताएं)
- फ्लेयर एंगल छोटा होने पर हॉर्न छोटा हो जाता है। इसका विकिरण पैटर्न निर्देशात्मक है, वेवफ्रंट गोलाकार होता है।
- फ्लेयर कोण (Flare Angle) अक्षीय लंबाई से संबंधित है।
- यदि θ= 15° है, जब l/λ = 50, बीम की चौड़ाई 23° है और दिष्टता 120 है।
- पिरामिड हॉर्न की डायरेक्टिविटी अधिक होती है क्योंकि फ्लेयर एक से अधिक दिशाओं में होता है।
- इसकी प्रत्यक्षता परवलय (Paraboloid) जितनी अधिक नहीं होती है।
- इसका उपयोग रेडिएटर के रूप में किया जाता है।
- वेवगाइड के साथ उपयोग करना आसान है।
- इसका उपयोग पैराबोलॉइड के लिए प्राथमिक एंटीना के रूप में किया जाता है।
Application of Horn Antenna
- उनका उपयोग माइक्रोवेव आवृत्तियों पर मध्यम लाभ के लिए किया जाता है।
- इनका उपयोग डिश एंटीना में प्राथमिक या फ़ीड तत्व के रूप में किया जाता है।
- प्रयोगशालाओं में विभिन्न एंटेना मापदंडों की माप, हॉर्न एंटीना का उपयोग किया जाता है।