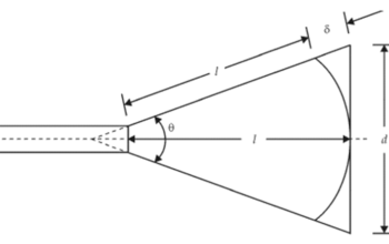
Horn Antenna in Hindi

Horn Antenna in Hindi हॉर्न एंटीना हिंदी में  Horn Antenna in Hindi: जिस एंटीना का आकार हॉर्न (Horn) जैसा होता है उसे ‘हॉर्न एंटीना (Horn

CW Radar in Hindi

CW Radar in Hindi Continuous-Wave (CW) Radar प्रणाली एक स्थिर आवृत्ति के साथ काम करती है, वेग को माप सकती है, लेकिन सीमा नहीं माप

Gunn Diode in Hindi

Gunn Diode in Hindi Gunn Diode (गन डायोड) एक दो-टर्मिनल वाली, बिना किसी जंक्शन की एक बल्क डिवाइस है । इसे डायोड भी कहा जाता

Spectrum Analyzer in Hindi

Spectrum Analyzer in Hindi Spectrum Analyzer (स्पेक्ट्रम विश्लेषक) या spectral analyzer (स्पेक्ट्रल विश्लेषक) एक उपकरण है, जिसका उपयोग पूर्ण आवृत्ति सीमा (full frequency range) के

Facsimile (Fax) Machine in Hindi

Facsimile (Fax) Machine in Hindi दोस्तों आज हम सभी Facsimile (Fax) Machine in Hindi के बारे में जानेगे तथा साथ ही Fax Machine कैसे काम

Resistor-Transistor Logic (RTL) in Hindi

Resistor-Transistor Logic (RTL) in Hindi दोस्तों आज इस पोस्ट में हम लोग Resistor-Transistor Logic (RTL) के बारे में जानेगे। रेसिस्टर-ट्रांजिस्टर लॉजिक (RTL) रेसिस्टर-ट्रांजिस्टर लॉजिक (RTL)

Radar Modulator in Hindi

Radar Modulator in Hindi दोस्तों आज इस पोस्ट में हम लोग रडार मॉड्यूलेटर  को हिंदी में पड़ेंगे । Radar Modulator in Hindi रडार मॉड्यूलेटर हिंदी

Emitter-Coupled Logic (ECL) in Hindi

Emitter-Coupled Logic (ECL) Emitter-Coupled Logic (ECL) एमिटर-कपल्ड लॉजिक सभी डिजिटल लॉजिक परिवारों में सबसे तेज है। इसका आविष्कार हैनन एस. योरके ने 1956 में आईबीएम में

Schottky Barrier Diode in Hindi

Schottky Barrier Diode in Hindi Schottky डायोड या Schottky Barrier  Diode का उपयोग विभिन्न प्रकार के सर्किट में किया जाता है। यद्यपि यह अब तक

X-ray (एक्स-रे) in Hindi 

X-ray (एक्स-रे) in Hindi  X-ray (एक्स-रे) in Hindi : आइये दोस्तों आज की पोस्ट में हम लोग X-ray (एक्स-रे) के वेयर जानेगे वो भी हिंदी  भाषा

1 2 3 6